Dom-ino, system för villor enligt Le Corbusier
Publicerad
Författare
Typ
Program
Modellbyggare
Tidskriftstitel
ISSN
Volymtitel
Utgivare
Chalmers tekniska högskola / Institutionen för arkitektur och samhällsbyggnadsteknik
Chalmers University of Technology / Department of Architecture and Civil Engineering
Chalmers University of Technology / Department of Architecture and Civil Engineering
Sammanfattning
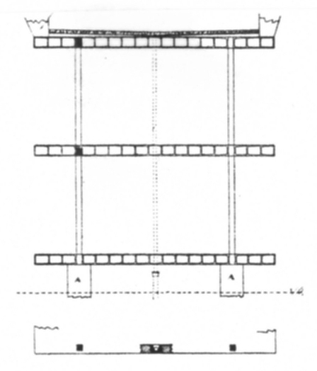
Le Corbusier utvecklade sedan 1914 ett idéprojekt för produktion av villor. Ett enkelt system av pelare och däck av armarad betong skulle vara principen för industriålderns villabyggande. Sedan kunde moden och smak växla beträffande bostadsplaner, fasadmaterial etc.
Beskrivning
Ämne/nyckelord
Citation
Arkitekt (konstruktör)
Corbusier, Le
Geografisk plats
Byggnad (typ)
Byggår
1914
Modelltyp
Skala
1:20
Teknik / material
Index
1971-11
