Bärlina
Publicerad
Författare
Typ
Program
Modellbyggare
Tidskriftstitel
ISSN
Volymtitel
Utgivare
Chalmers tekniska högskola / Institutionen för arkitektur och samhällsbyggnadsteknik
Chalmers University of Technology / Department of Architecture and Civil Engineering
Chalmers University of Technology / Department of Architecture and Civil Engineering
Sammanfattning
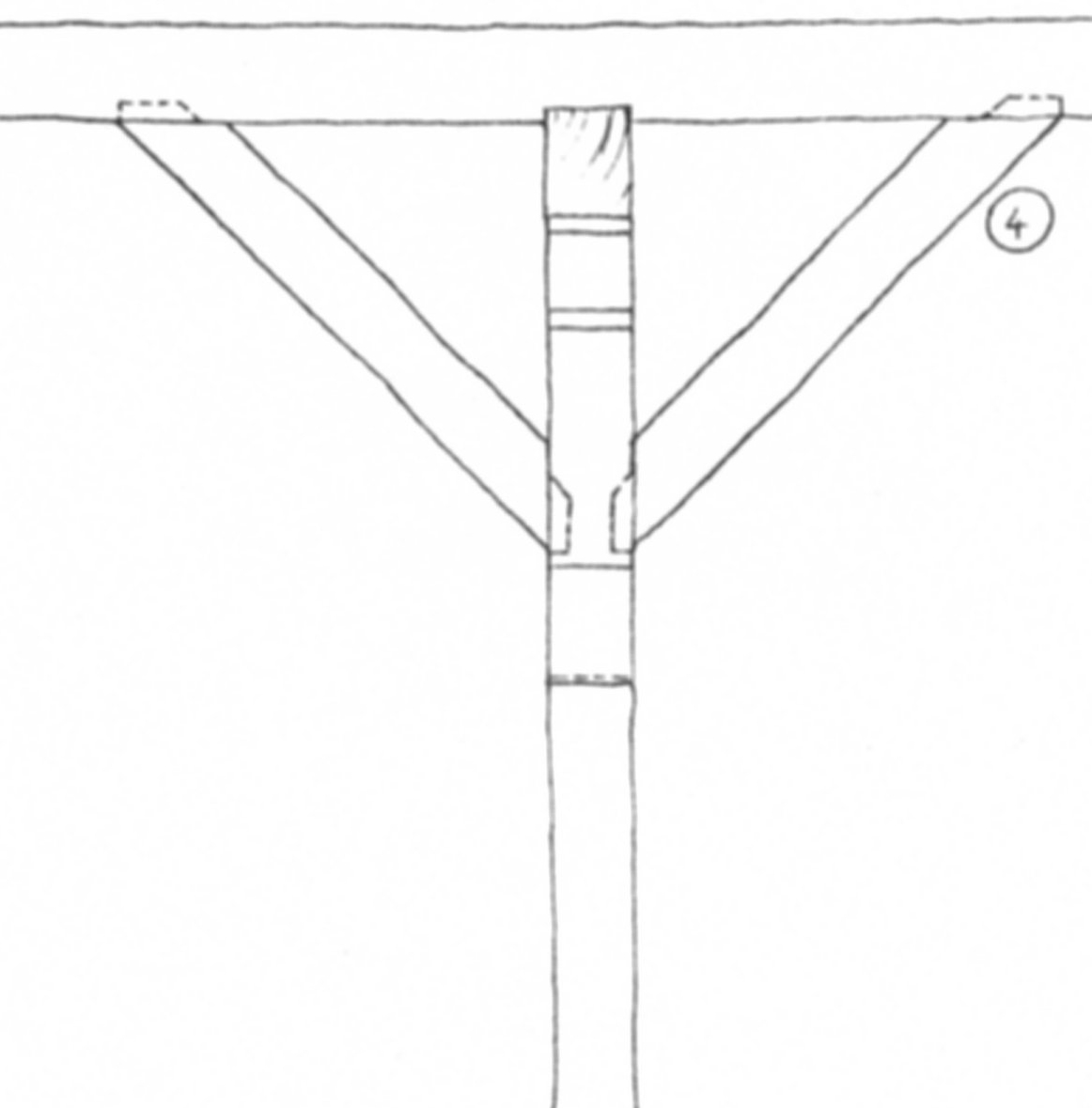
Magasinsbjälklag, där en golvbjälkes spännvidd ej bör överstiga 4,5 m, brukar uppbäras av stolpar och bärbjälkar av trä.För att minska bärbjälkens (1) fria längd kan under densamma läggas en kortare bjälke, sadelträ (dyna) (2). Mellan denna och stolpen sättes snedsträvor (vinkelband) in(3). Kommer en av golvbjälkarna mitt över stolpen kan vinkelband sättas in även här (4). Skall stolparna fortsätta flera våningar, görs de helst dubbla och bärbjälken lägges in mellan dem. Tvärskarvar enligt bild (5). Se modell 206.
Beskrivning
Ämne/nyckelord
Citation
Arkitekt (konstruktör)
Geografisk plats
Byggnad (typ)
Byggår
Modelltyp
Skala
1:10
Teknik / material
Index
1985-12
